Лист призначений для з'єднання лотків на горизонтальних поворотах під різними кутами и Т-образних перехрестях. Використовується спільно з кутником УГ-00, який згинається вручну під необхідним кутом.
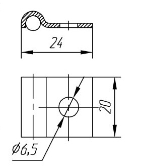
| Лист ЛТ-00М | |
|
|
|
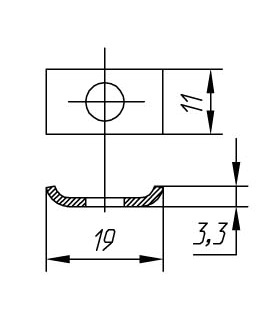
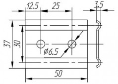
| Кутник УГ-00М | |
|
|
|
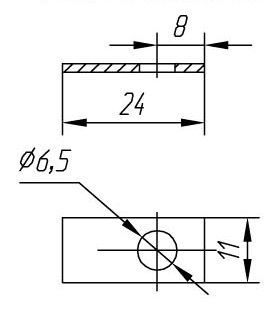
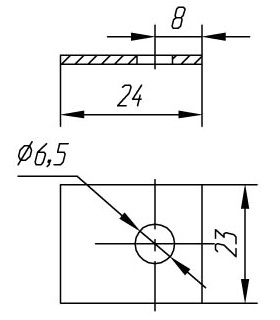
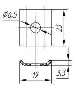
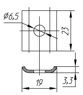
Скоба СК-00М призначена для швидкого кріплення лотків до опорних деталей. Скоба СК-01М призначена для кріплення вертикальных спусків Л-04М до отворів А за поперечі прутки.
| Скоба СК-00М | Скоба СК-01М | |||
|
|
|
|
|
|
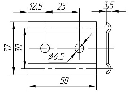
Скоба СБ-00М прмзначена для з'єднання лотків в довжину встик. Встановлюється зеркально по 2 шт. на кожне з'єднання. Також для перемичок заземлення. Скоба СБ-01М призначена для з'єднання лотків Л-04М в довжину встик.
| Скоба СБ-00М | Скоба СБ-01М | |||
|
|
|
|
|
|
Лист ЛС-00 використовується спільно зі скобою СК-00М для болта заземлення. Лист ЛС-01 використовується спільно зі скобою СК-01М для заземлення на лотках Л-04.
| Лист ЛС-00 | Лист ЛС-01 | |
|
|
|
|
