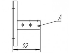
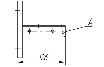
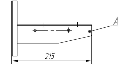
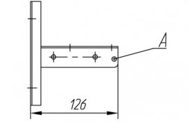
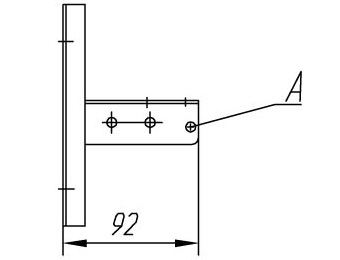
Широка гамма кронштейнів забезпечує різні способи кріплення до стін та металоконструкцій. Механічна міцність конструкції забезпечується в широкому діапазоні навантажень. Висота може бути збільшена за допомогою використання основи 0С-00, а довжина - кутника УК-00 методом зварювання встик. Кронштейни освітлені. Отвори А використовуються для кріплення вертикальних спусків лотками Л-04М.
| Кронштейн КР-00 | |
|
|
|
| Кронштейн КР-01 | |
|
|
|
| Кронштейн КР-02 | |
|
|
|
| Кронштейн КР-03 | |
|
|
|
| Основа ОС-00 | |
|
|
|
| Кутник УК-00 | |
![]() |
|

